
案例背景:
大連市某就業服務有限公司是東北地區較早開展就業服務、勞務派遣和人力資源外包的專業化公司,已經成為全國頗具影響力的人力資源服務機構。
公司存在的最大問題就是勞務人員總數變動頻繁,勞務人員工資及其各項社會保險費用都不斷的變化。管理不好,勞務派遣企業有意見,勞務人員的利益也得不到保障,利用傳統的人工管理模式已經越來越滯后于企業發展的需要,急需OA信息化來管理公司的派遣人員、薪資和客戶(派遣單位)。
華天動力的工程師們針對派遣公司需求,結合其企業管理模式,用OA系統為其搭建了個性化勞務派遣系統,數字化建立客戶(派遣單位)管理、派遣員工管理、勞動合同管理、勞資管理、社保管理、收費管理、員工檔案管理,并提供OA系統全能報表統計分析,將派遣流程規范化、細節化、科學化。

一、派遣單位的管理
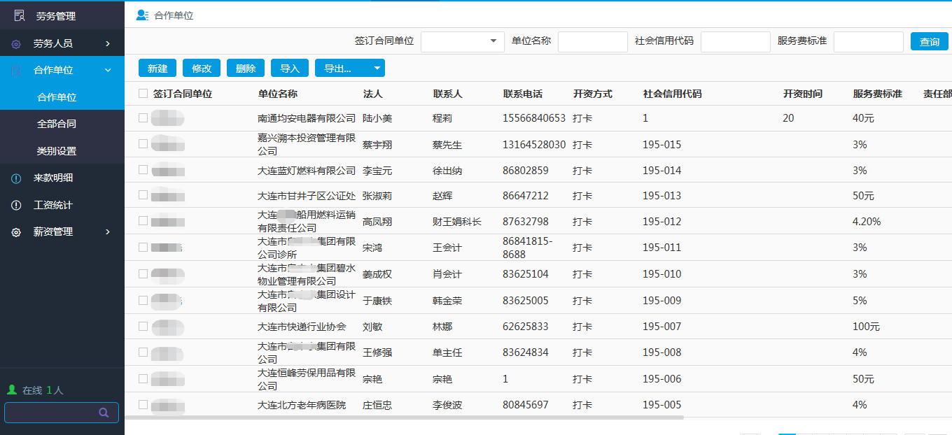
華天動力協同OA系統為其設置合作單位管理模塊,用來對合作單位的基本信息進行維護。用戶可以在這里進行客戶的新增、編輯、啟動與終止;支持建立、查詢客戶檔案數據庫,完整記錄客戶協議、服務記錄、開票信息、銀行信息、客戶聯系人、客戶異動等信息,清晰回溯客戶行為細節。

二、勞務人員的管理
勞務人員管理模塊是對員工基本信息、所屬單位信息等數據的結構化管理,包含派遣員工勞動關系的建立、解除、變更、續簽;派遣員工人事檔案和社保關系的調轉;為用工單位退回的派遣員工提供二次就業機會等的管理。員工可管理本人信息,人事部可管理公司內部所有員工的信息,根據各種要求生成報表,方便對員工檔案情況進行信息化科學管理。
例如HR人員可針對人事信息中的人員簽訂合同,設置合同期限以及上傳電子合同附件;系統可自動將所有未簽訂合同的員工列出,方便HR人員對其派遣;對于合同到期的員工,可以設置提醒,方便進行續簽和改派。

三、員工薪酬的管理
派遣公司的薪酬管理較一般公司更為復雜,人員繁雜流動性大、工作地點分散,缺少單據抵扣對賬困難、手動登記信息錯誤率高、發薪慢等難點。薪酬管理模塊是對員工的薪資信息進行管理,實現勞資項目定義、勞資公式定義、派遣人員薪酬申報、派遣單位費用匯總、員工工資、社保、公積金等的數字化管理。
華天動力協同OA的薪酬管理靈活的應用平臺可以滿足不同的薪資管理需求,例如系統支持企業按照實際的核算業務靈活的為各個派遣公司設置單獨管理的薪資賬套;還可以自定義薪資科目和分組來滿足管理不同種類的派遣人員的薪資;電子工資條,所有人員都可以通過薪酬管理系統查詢已發放月份的薪資,大大減少了薪資管理員打印和發放工資條的工作量。

華天動力為勞務派遣公司定制的勞務派遣系統規范了人力資源外包公司的業務管理模式,同時通過系統業務流程的建立,對公司每個員工提出了更高的要求,通過管理平臺的使用,不斷的提高工作人員的基本素質與業務水平,同時也實現了決策科學化,數據化決策。在提高辦公效率與質量的同時,對派遣公司的工作流程、資金風險的防控也進行了優化,便于公司管理層及時掌握整個業務的基本情況,深受客戶好評。
來源:砍柴網 http://news.ikanchai.com/2022/0812/493464.shtml
OA系統:http://www.wanlilong.cn/